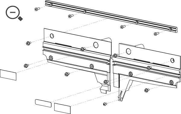
34472 Upper Arm Assembly Closer Look (Front View 4)

34472_zoom_4.jpg