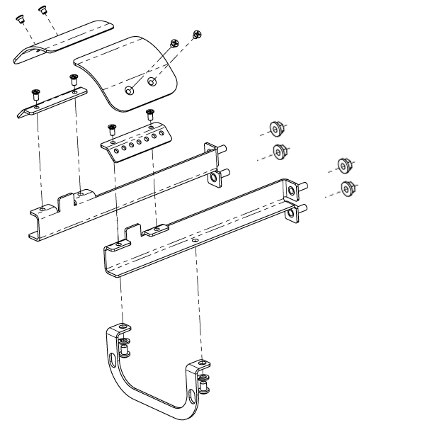
34665 Cap Support Assembly (option)

34130_zoom_support_wing_bracket.png